With the rapid development of new energy vehicles, internal combustion engines are getting closer to being eliminated. Hybrid vehicles and electric vehicles have more advantages in reducing emissions and lowering operating costs. In addition to pure electric vehicles, engines still play an important role in plug-in hybrid and extended-range vehicles.
Subaru has applied for a new patent for a more efficient pre-combustion system. Porsche is currently exploring such systems to maximize power. However, Subaru is not looking at power itself, but efficiency. The patent mainly solves the problem of cold start of the engine.
As we all know, in order for the three-way catalytic converter to quickly process exhaust emissions during cold start, the engine speed will be higher than half of the normal idle speed, and will normally be maintained between 1500 and 1800 rpm. In addition, when the engine suddenly decelerates during normal driving, the fuel cannot be fully burned and will adhere to the wall of the combustion chamber. These situations will increase the fuel density and cause the engine's combustion process to release more harmful hydrocarbons. The pre-combustion patent applied by Subaru is a way to solve the problem of fuel waste and increased emissions during traditional cold start.

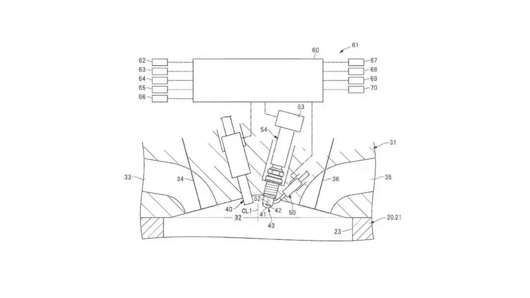
Pre-combustion is not a new technology, but it is rarely used in mainstream vehicles. Because, even if it is used, it is largely unknown to the public. In a traditional internal combustion engine, the air-fuel mixture achieved by the injector and the intake valve is ignited in the main combustion chamber by the spark plug. Pre-combustion technology uses a hemispherical shell around the spark plug to form a separate combustion chamber where pre-combustion can take place.
The pre-combustion system uses a smaller ignition device in a separate combustion chamber to exhaust the flame and then ignite the fuel in the main combustion chamber. This alternate ignition system optimizes overall combustion quality, allowing for a thorough engine stroke cycle and minimizing waste, especially during cold starts where more fuel is burned at a slower rate. The pre-combustion chamber has a central/main opening and two smaller through holes on either side, the opening and through holes are arranged to direct air from the pre-combustion chamber's designated high-pressure air valve, as well as direct the spark that ignites the fuel.
Great Wall GW4D20B


The air pressure valve that supplies air to the pre-chamber acts as a shield during startup, surrounding the pre-chamber with a layer of air, preventing the fuel mixture from adhering to the outside of the pre-chamber, while also facilitating more efficient ignition of the fuel/air mixture within the pre-chamber. During startup, the air injector is activated first, followed by the fuel injector, creating a "swirl" effect within the combustion chamber, with the two injections overlapping in timing.

The technology won't bring internal combustion engines to the efficiency levels of hybrid or electric vehicles, but it could lead to some groundbreaking innovations.

Hyundai G6BA 2.7